一(yi)、八要素氣象站產品簡(jian)介(jie)
八(ba)要(yao)(yao)素(su)氣(qi)象(xiang)站(zhan)(zhan)又稱八(ba)要(yao)(yao)素(su)自(zi)動(dong)氣(qi)象(xiang)站(zhan)(zhan)、自(zi)動(dong)氣(qi)象(xiang)站(zhan)(zhan)八(ba)要(yao)(yao)素(su)、八(ba)要(yao)(yao)素(su)一(yi)體式氣(qi)象(xiang)站(zhan)(zhan),八(ba)要(yao)(yao)素(su)氣(qi)象(xiang)站(zhan)(zhan)監(jian)測多種氣(qi)象(xiang)要(yao)(yao)素(su),實時采(cai)(cai)集風速(su)、風向(xiang)、溫(wen)度(du)、濕度(du)、氣(qi)壓、pm2.5、pm10、噪聲等(deng)8要(yao)(yao)素(su)。SJ-CQX8八(ba)要(yao)(yao)素(su)氣(qi)象(xiang)站(zhan)(zhan)是一(yi)款高(gao)度(du)集成(cheng)、低(di)功耗(hao)、可快(kuai)速(su)安裝、便(bian)于野外(wai)監(jian)測使用(yong)(yong)的高(gao)精度(du)自(zi)動(dong)氣(qi)象(xiang)觀(guan)測設(she)備(bei)。八(ba)要(yao)(yao)素(su)氣(qi)象(xiang)站(zhan)(zhan)免調試,可快(kuai)速(su)布(bu)置,廣泛(fan)運用(yong)(yong)于氣(qi)象(xiang)、農業、林業、環(huan)保、海洋(yang)、機場、港(gang)口、科學考察、校園教(jiao)育等(deng)領域。與(yu)傳統的超聲波氣(qi)象(xiang)站(zhan)(zhan)相比,我(wo)司產品克服了對高(gao)精度(du)計時器(qi)的需求,避免了因傳感(gan)器(qi)啟動(dong)延時、解調電路(lu)延時、溫(wen)度(du)變(bian)化而(er)造成(cheng)的測量不準問題。八(ba)要(yao)(yao)素(su)氣(qi)象(xiang)站(zhan)(zhan)創新性(xing)(xing)的采(cai)(cai)用(yong)(yong)八(ba)要(yao)(yao)素(su)一(yi)體式傳感(gan)器(qi),可實現戶外(wai)氣(qi)象(xiang)參數(shu)(shu)24小時連續(xu)在線監(jian)測,通過(guo)數(shu)(shu)字量通訊接口將八(ba)項參數(shu)(shu)一(yi)次性(xing)(xing)輸(shu)出給用(yong)(yong)戶。
二(er)、八要(yao)素氣象站產品(pin)特(te)點(dian)
1、頂蓋隱藏(zang)式超(chao)聲波(bo)探(tan)頭,避免(mian)雨雪堆積的干擾,避免(mian)自然(ran)風遮擋(實用新型專(zhuan)利,專(zhuan)利號ZL 2020 2 3215713.X)
2、原理為發(fa)射連續變(bian)頻超聲波信號,通過(guo)測量相對相位來檢測風速風向(發(fa)明(ming)專(zhuan)利(li),專(zhuan)利(li)號ZL 2021 1 0237536.5)
3、風速、風向、溫度、濕度、氣壓、pm2.5、pm10、噪(zao)聲八要素一體式傳感器(實(shi)用新型專利,專利號ZL 2020 2 3215649.5)
4、標配(pei)(pei)GPRS;可選配(pei)(pei)RJ45、以(yi)太網、4-20ma、Lora透傳(chuan)、4G透傳(chuan)、藍牙(ya)、485轉USB等(deng)多(duo)種傳(chuan)輸方式
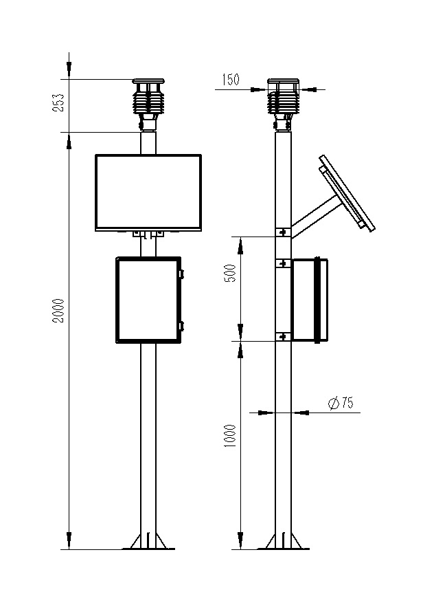
5、兩(liang)米碳鋼支架(jia),頂部無(wu)需法蘭(lan)盤可(ke)直接(jie)套(tao)接(jie)傳感器(實用新型(xing)專利,專利號ZL 2020 2 3211795.0)
6、傳感器外殼采(cai)用進口ASA材質(zhi),更有效對抗鹽霧等環(huan)境,防護(hu)等級達到IP65以上
三(san)、八要素氣(qi)象站(zhan)技(ji)術參(can)數
1、風速:測量原理超聲波,0~60m/s(±0.1m/s)分辨率0.01m/s;(發明專利,專利號ZL 2021 1 0237536.5)
2、風向:測量原理超聲波,0~360°(±2°);分辨率:1°;(發明專利,專利號ZL 2021 1 0237536.5)
3、空氣溫度:測量原理二極管結電壓法,-40-60℃(±0.3℃),分辨率0.01℃;(北京市氣象局校準證書)
4、空氣濕度:測量原理電容式,0-100%RH(±3%RH),分辨率:0.1%RH;(北京市氣象局校準證書)
5、大氣壓力:測量原理壓阻式,300-1100hpa(±0.25%),分辨率0.1hpa;(北京市氣象局校準證書)
6、PM2.5:測量原理光散射,0-1000ug/m3(±10%)
7、PM10:測量原理光散射,0-1000ug/m3(±10%)
8、噪聲:測量原理電容式,30-120dB(±1.5dB)
9、采集器供電接口:GX-12-3P插頭,輸入電壓5V,帶RS232輸出Json數據格式,采集器供電:DC5V±0.5V峰值電流1A,
10、傳感器modbus、485接口:GX-12-4P插頭,輸出供電電壓12V/1A,設備配置接口:GX-12-4P插頭,輸入電壓5V
11、太陽能供電、配置鉛酸電池,可選配30W 20AH/50W 40AH/100W 100AH.充電控制器:150W,MPPT自動功率點跟蹤,效率提高20%
12、數據上傳間隔:1分鐘-1000分鐘可調
13、7寸安卓觸屏,屏幕尺寸:1024*600 RGB LCD
14、整機取得國家氣象計量站校準證書
15、整機取得實用新型專利,專利號ZL 2020 2 3208599.8
16、生產企業具有ISO質量管理體系、環境管理體系和職業健康管理體系認證
17、生產企業具有計算機軟件注冊證書
18、生產企業為3A級信用企業
四、八(ba)要素氣象(xiang)站產(chan)品尺寸(cun)圖(tu)

五、八要素(su)氣(qi)象站產品結構(gou)圖(tu)

六、八要素氣象站(zhan)上位(wei)機軟件介紹
1、PC單機版數(shu)據接收(shou)、存儲(chu)、查看、分析軟件(jian)
2、支持串口(kou)數據接收、處理、展示
3、支持json字符串、modbus485等(deng)通信方式
4、可自設置(zhi)存儲時間,modbus485采集(ji)模式下可自設置(zhi)采集(ji)時間
5、支持自助增加、刪除、修(xiu)改監測(ce)參數的協議、名稱、圖標(biao)等
6、支持數據后(hou)處理功(gong)能
7、支持外置運(yun)行javascript腳本(ben)
七(qi)、八要素氣象站安卓(zhuo)APP介紹(shao)
1、安(an)卓單(dan)機(ji)版數據接收(shou)、存儲、查(cha)看、分(fen)析軟(ruan)件
2、支持藍牙數據接收
3、手機休眠后(hou)軟(ruan)件(jian)后(hou)臺(tai)接收、處理(li)
4、json數據自動添加設(she)備,modbus設(she)備支持掃碼添加設(she)備
5、支持歷史數(shu)據(ju)查看(kan)、分析、導出表(biao)格(ge),支持曲(qu)線(xian)展(zhan)示(shi)、單數(shu)據(ju)點(dian)查看(kan)。
6、支持數據(ju)后處理功(gong)能
7、支持外置運行javascript腳本
八(ba)、八(ba)要素(su)氣象(xiang)站云平(ping)臺介紹
1、CS架構(gou)軟件平臺,支持手機、PC瀏覽器(qi)直接觀測、無需額(e)外安裝軟件。
2、支持(chi)多帳號、多設備登(deng)錄(lu)
3、支持實時數(shu)據(ju)展(zhan)示與歷(li)史數(shu)據(ju)展(zhan)示儀(yi)表(biao)板
4、云(yun)服務器、云(yun)數據存(cun)儲(chu),穩定可靠(kao),易于擴(kuo)展,負載(zai)均(jun)衡。
5、支持(chi)短(duan)信報警(jing)及閾(yu)值(zhi)設(she)置
6、支持地圖顯(xian)示(shi)、查看設備信息。
7、支(zhi)持數據曲(qu)線分析
8、支持(chi)數據導出表格(ge)形(xing)式
9、支持(chi)數據轉(zhuan)發,HJ-212協(xie)議,TCP轉(zhuan)發,http協(xie)議等。
10、支(zhi)持數據后處理功能(neng)
11、支持外置運行javascript腳(jiao)本